黑芝麻今日跌停 2家机构净卖出5393.7万元
作者:行情 •更新时间:2025-01-25 14:05:36•阅读 1417
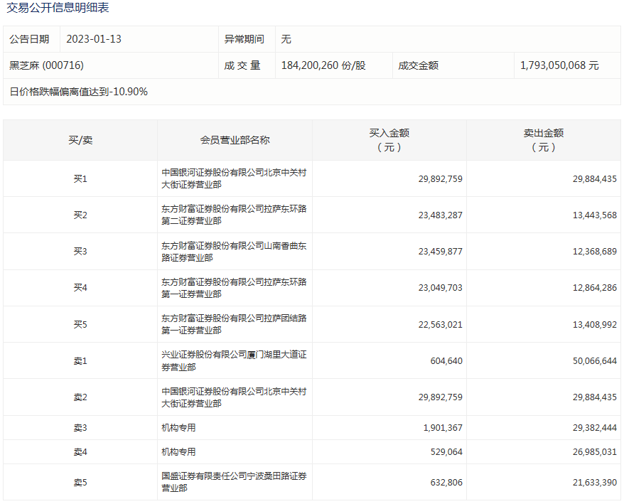
1月13日,黑芝麻跌停,报9.66元,成交额17.93亿元,换手率26.47%。

盘后数据显示,2家机构净卖出5393.70万元。

1月12日,黑芝麻收深交所关注函。深交所关注到,公司2022年前三季度营业收入同比下降26.39%;净利润854.87万元,同比下降40.16%。
关注函要求其说明公司前三季度营业收入、净利润同比下降的原因,并结合公司的非经常性损益项目说明报告期内扣非后净利润为负值的原因及合理性、相关因素的影响是否具有持续性,如是,具体说明并充分提示相关风险。
此外,关注函要求黑芝麻核查公司董事、监事、高级管理人员及其直系亲属是否存在买卖公司股票的行为,是否存在涉嫌内幕交易的情形。
值得注意的是,黑芝麻在近24个交易日内录得11个涨停,期间股价翻倍。
我们将致力于为您提供最新的财经资讯以及热门行业新闻,了解更多财经新闻欢迎关注本站4本文内容由互联网用户自发贡献,该文观点仅代表作者本人。本站仅提供信息存储空间服务,不拥有所有权,不承担相关法律责任。